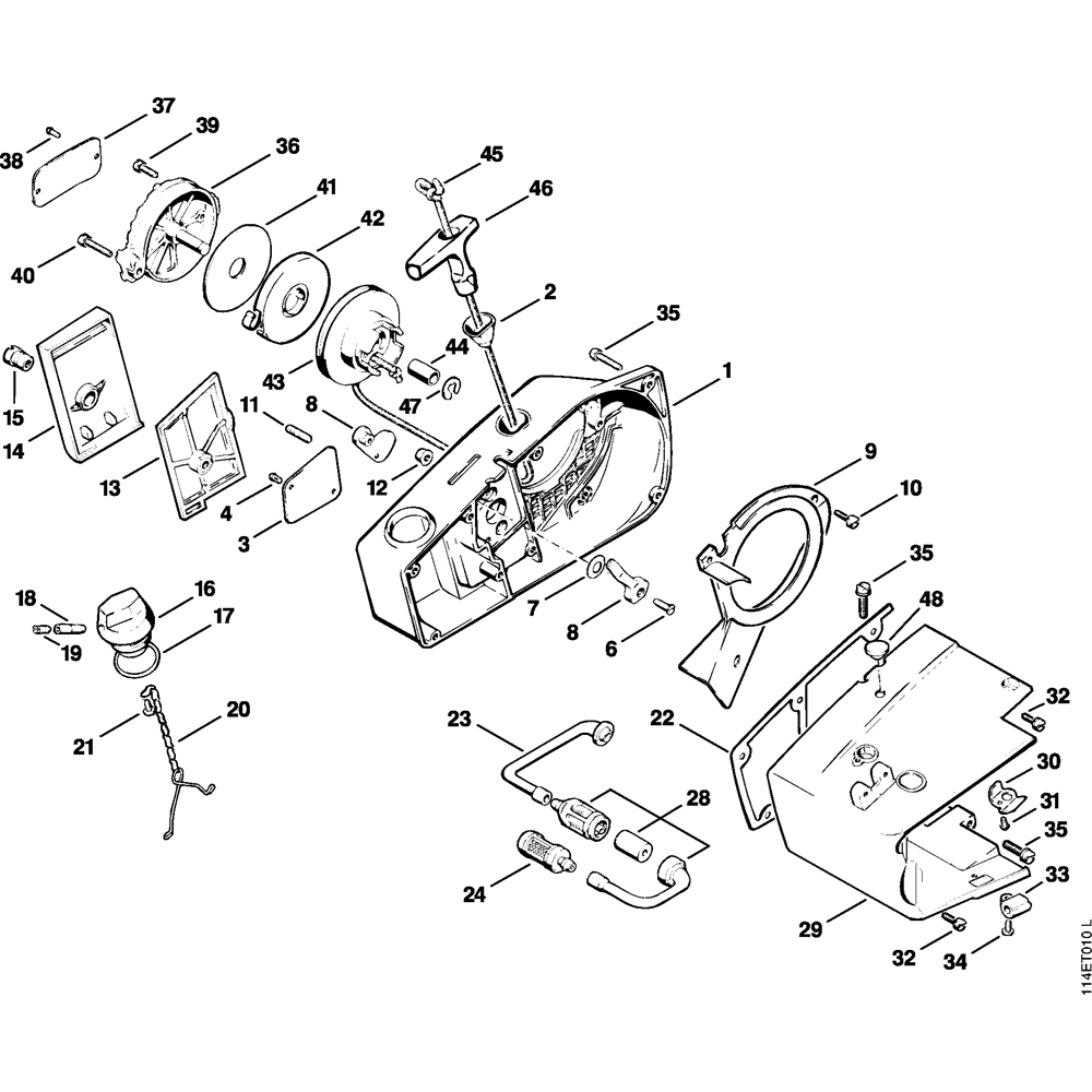
Sơ đồ Bộ căng xích Stihl 018

Thương hiệu: STIHL
Mã sản phẩm: Sodo02150

Danh sách phụ tùng trong sơ đồ

Ho-tro-hotline

Sơ đồ Bộ căng xích Stihl 018

Stihl cung cấp sơ đồ chi tiết giúp người dùng dễ dàng nhận biết vị trí và mã phụ tùng chính xác cho từng bộ phận của máy. Mỗi chi tiết đều được hiển thị trực quan, hỗ trợ việc tra cứu và đặt hàng nhanh chóng.

Ưu điểm của sơ đồ

  • Minh họa rõ ràng từng cụm chi tiết – giúp việc lắp ráp và bảo trì thuận tiện hơn.
  • Phụ tùng chính hãng đảm bảo độ khớp và hiệu năng tối ưu.
  • Tích hợp sẵn danh sách mã linh kiện để đặt hàng trực tiếp trên website.

Hướng dẫn sử dụng

Chọn từng chi tiết trong sơ đồ để xem tên linh kiện, mã hàng (SKU), và giá bán tương ứng. Nếu không chắc về mã phụ tùng, hãy liên hệ bộ phận kỹ thuật của Máy Số 1 Việt Nam để được hỗ trợ miễn phí.

Toàn bộ dữ liệu được biên soạn dựa trên sơ đồ chính hãng Stihl, đảm bảo độ chính xác cao và tương thích hoàn toàn với thiết bị gốc.

Công Ty Cổ Phần Thiết Bị Thương Mại Phú Gia
Hotline: 0915.133.327
Email: ketoancongtythietbiphugia@gmail.com
Địa chỉ: 83 Ao Đôi, Phường Bình Trị Đông, TP. Hồ Chí Minh
Website: mayso1vietnam.com

Lý do đổi trả hàng
+ Sản phẩm lỗi, hỏng do quá trình sản xuất hoặc vận chuyển
+ Nằm trong chính sách đổi trả sản phẩm của Máy Số 1 Việt Nam
Thời gian đổi trả
Điều kiện về thời gian đổi trả: trong vòng 07 ngày kể từ khi nhận được hàng và phải liên hệ gọi ngay cho chúng tôi theo số điện thoại trên để được xác nhận đổi trả hàng. Nếu không yêu cầu sẽ không được chấp nhận.
Điều kiện đổi trả hàng:
– Sản phẩm gửi lại phải còn nguyên đai nguyên kiện
– Phiếu bảo hành (nếu có) và tem của công ty trên sản phẩm còn nguyên vẹn.
– Sản phẩm đổi/ trả phải còn đầy đủ hộp, giấy Hướng dẫn sử dụng và chưa qua sử dụng.
– Các chi phí phát sinh Khách hàng vui lòng tự chịu chi phí vận chuyển hàng đổi trả, trừ khi sản phẩm bị lỗi hoặc giao nhầm do Công Ty.

Zalo Gọi điện